Question: 1.6 12 a Problem 2 (30 points) Next you will check whether your function works properly by applying it to different resistive networks. For example,




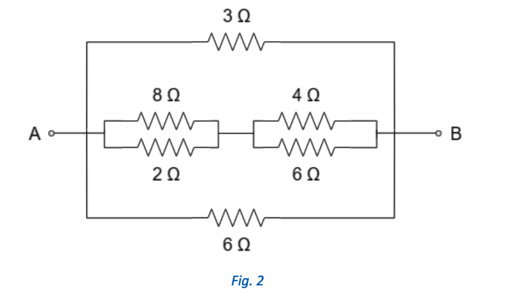
1.6 12 a Problem 2 (30 points) Next you will check whether your function works properly by applying it to different resistive networks. For example, your function should return Rab = 4.1481 for the circuit shown on the right when you type the following in your command prompt: 16 3412 b Rab = EquivR( [16 EquivR ([4 1.6], 'S'), 'P') Or, r1 EquivR( [4 1.6], 'S'); Rab EquivR( [16 r1], 'P') Write expressions similar to the ones above for each of the following circuits (Figures 1-3). Include these expressions and the results with your report. 20 50 a 75 10 25 100 b 10 10 Fig. 1 3 8 4 2 6 6 Fig. 2 1 3 . 2 6 k 1 2 S2 1.5 k B Fig. 3
Step by Step Solution
There are 3 Steps involved in it
Get step-by-step solutions from verified subject matter experts
