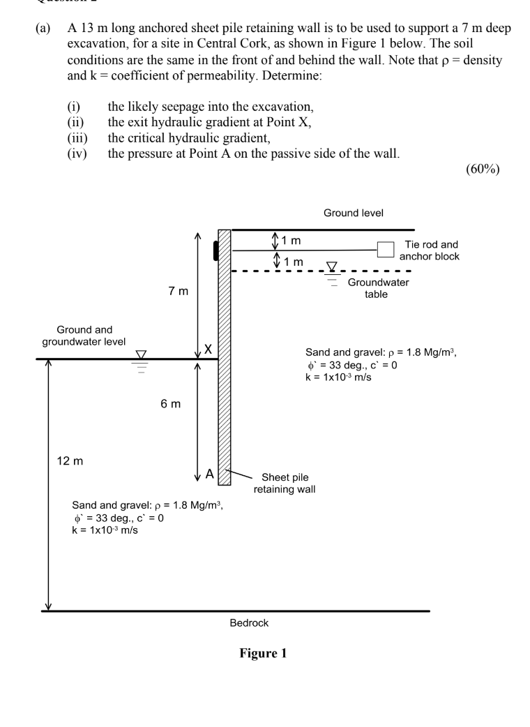
Question: ( a ) A 1 3 m long anchored sheet pile retaining wall is to be used to support a 7 m deep excavation, for
a A m long anchored sheet pile retaining wall is to be used to support a m deep excavation, for a site in Central Cork, as shown in Figure below. The soil conditions are the same in the front of and behind the wall. Note that rho density and mathrmk coefficient of permeability. Determine:
i the likely seepage into the excavation,
ii the exit hydraulic gradient at Point X
iii the critical hydraulic gradient,
iv the pressure at Point A on the passive side of the wall.
Ground level
Figure
Step by Step Solution
There are 3 Steps involved in it
1 Expert Approved Answer
Step: 1 Unlock
Question Has Been Solved by an Expert!
Get step-by-step solutions from verified subject matter experts
Step: 2 Unlock
Step: 3 Unlock
