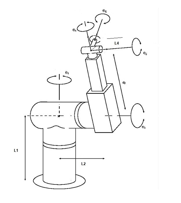
Question: Assign the coordinate frames and write the forward kinematic equation for the 6 dof manipulator for the shown vertical home position ( figure 4 )
Assign the coordinate frames and write the forward kinematic equation for the dof manipulator for the shown vertical home position figure Write the equations for andGeneral Equations are sufficient Matrix Expansion is not required
Step by Step Solution
There are 3 Steps involved in it
1 Expert Approved Answer
Step: 1 Unlock
Question Has Been Solved by an Expert!
Get step-by-step solutions from verified subject matter experts
Step: 2 Unlock
Step: 3 Unlock
