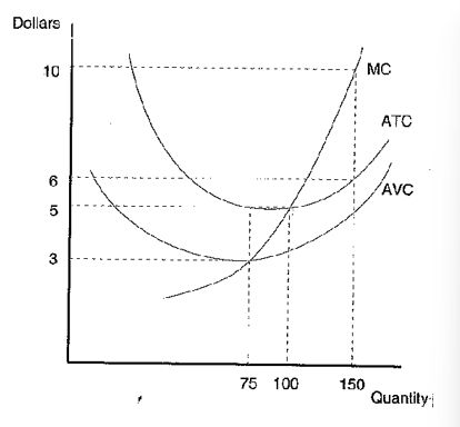
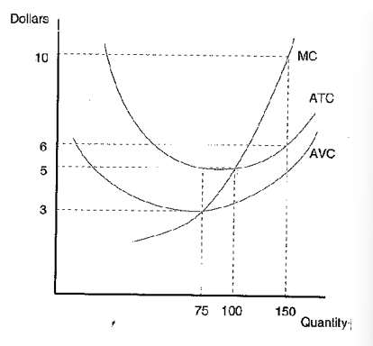
Question: At the shutdown point what is the: a. quantity produced: b. the average total cost: c. the average variable cost: d. the total cost: e.

At the shutdown point what is the:
a. quantity produced:
b. the average total cost:
c. the average variable cost:
d. the total cost:
e. the total variable cost:

Step by Step Solution
There are 3 Steps involved in it
Get step-by-step solutions from verified subject matter experts
