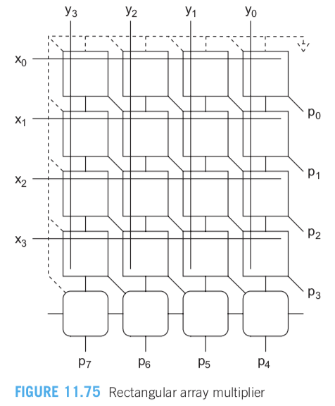
Question: Create a structural model of a 3bit by 3bit unsigned multiplier array as discussed in book Figs. 11-74 and 11-75. Define and then use two
Create a structural model of a 3bit by 3bit unsigned multiplier array as discussed in book Figs. 11-74 and 11-75. Define and then use two modules and(a,b,c) that returns in c the logical and of bits a and b, and add1(a,b,cin,sum,cout) that takes in bits a, b, and cin and returns in sum the 1 bit addition of bits a, b, and c and in cout the carry out of the sum. Call your final module mult3x3(a,b,c) where a and b are 3 bits and c is 6 bits.


CSA Array CPA p1 A B Sin A Cin Critical Path A B in out ut out out out out out FIGURE 11.74 Array multiplier CSA Array CPA p1 A B Sin A Cin Critical Path A B in out ut out out out out out FIGURE 11.74 Array multiplier
Step by Step Solution
There are 3 Steps involved in it
Get step-by-step solutions from verified subject matter experts
