Question: Examen Final - Parte 2 Ejercicio #1. Completar la Tabla 1 para los valores de Stage 1. Si Stage 2 es requerido, completar los valores

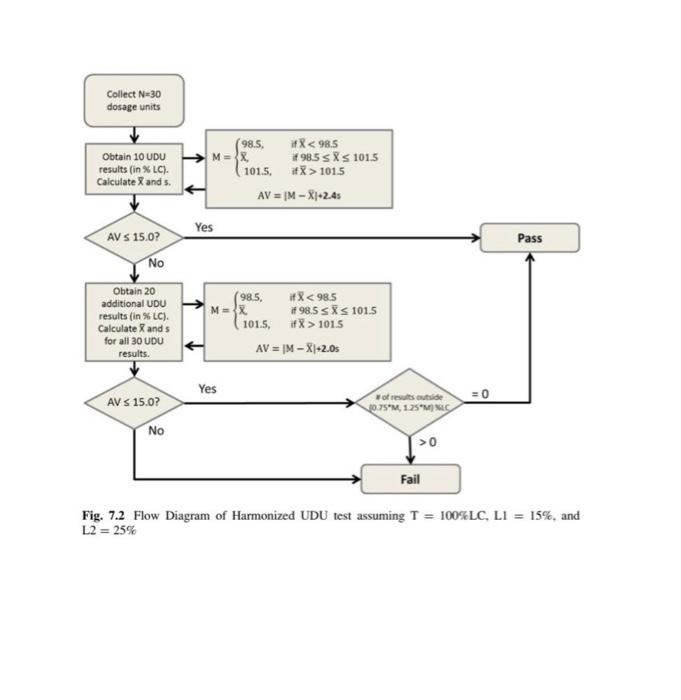
Examen Final - Parte 2 Ejercicio #1. Completar la Tabla 1 para los valores de Stage 1. Si Stage 2 es requerido, completar los valores para Stage 2. Usar como referencia la Figura 7.2 (pag 2). Calculations (%) 100 15 25 2.4 Stage 1 L1 L2 k Average Stand. Dev. M AV Stage 2 T E- na 30 1 2 3 4 5 6 7 8 9 10 11 12 13 14 15 16 17 18 19 20 21 22 23 24 25 26 Calculations 100 15 25 2 Table 1. % LC) 97.0 99.0 97.0 81.0 94.0 106.0 89.0 95.0 96.0 104.0 96.3 104.8 99.2 103.5 94.3 100.4 102.3 105.9 101.8 99.0 103.2 97.8 95.7 96.1 99.6 99.4 101.9 103.0 100.9 100.8 L2 k Average Stand. Dev. M AV 27 28 29 30 Collect N=30 dosage units 98.5 Obtain 10 UDU results (in % LC). Calculate Xands X 1015 AV = M - X1+2.45 Yes Pass AV S 15.0? No Obtain 20 additional UDU results (in % LC). Calculate and s for all 30 UDU results. 98.5, if X 101.5 AV = 1M -X|+2.05 Yes of results outside 10.75*M, 1.25MINES AV S 15.0? No >0 Fail Fig. 7.2 Flow Diagram of Harmonized UDU test assuming T = 100%LC, LI = 15%, and L2 = 25% Examen Final - Parte 2 Ejercicio #1. Completar la Tabla 1 para los valores de Stage 1. Si Stage 2 es requerido, completar los valores para Stage 2. Usar como referencia la Figura 7.2 (pag 2). Calculations (%) 100 15 25 2.4 Stage 1 L1 L2 k Average Stand. Dev. M AV Stage 2 T E- na 30 1 2 3 4 5 6 7 8 9 10 11 12 13 14 15 16 17 18 19 20 21 22 23 24 25 26 Calculations 100 15 25 2 Table 1. % LC) 97.0 99.0 97.0 81.0 94.0 106.0 89.0 95.0 96.0 104.0 96.3 104.8 99.2 103.5 94.3 100.4 102.3 105.9 101.8 99.0 103.2 97.8 95.7 96.1 99.6 99.4 101.9 103.0 100.9 100.8 L2 k Average Stand. Dev. M AV 27 28 29 30 Collect N=30 dosage units 98.5 Obtain 10 UDU results (in % LC). Calculate Xands X 1015 AV = M - X1+2.45 Yes Pass AV S 15.0? No Obtain 20 additional UDU results (in % LC). Calculate and s for all 30 UDU results. 98.5, if X 101.5 AV = 1M -X|+2.05 Yes of results outside 10.75*M, 1.25MINES AV S 15.0? No >0 Fail Fig. 7.2 Flow Diagram of Harmonized UDU test assuming T = 100%LC, LI = 15%, and L2 = 25%
Step by Step Solution
There are 3 Steps involved in it
Get step-by-step solutions from verified subject matter experts
