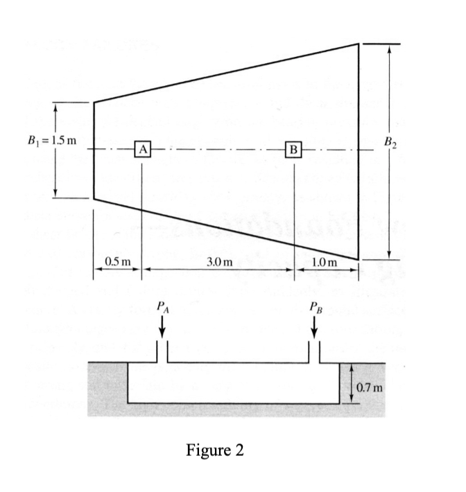
Question: Geotech: Problem 4 The two columns in Figure 2 are to be supported on a combined footing. The vertical dead loads on column A &
Geotech: Problem
The two columns in Figure are to be supported on a combined footing. The vertical dead loads on column A &
B are & kN respectively. We solved the problem in class and determined B so that the resultant of the
column loads acts through the centroid of the footing.
If in addition to these dead loads, Columns A & B in Figure also can carry vertical live load up to &
kN respectively. The live loads vary with time, and thus may be present some days and absent other days. In
addition the live load on each column is independent of that on the other column ie one could be carrying the
live load while the other has zero live load Using the dimension obtained for B and the worst possible
combination of live loads, determine if the bearing pressure distribution always meets the eccentricity
requirements. The groundwater table is at a depth of m
Step by Step Solution
There are 3 Steps involved in it
1 Expert Approved Answer
Step: 1 Unlock
Question Has Been Solved by an Expert!
Get step-by-step solutions from verified subject matter experts
Step: 2 Unlock
Step: 3 Unlock
