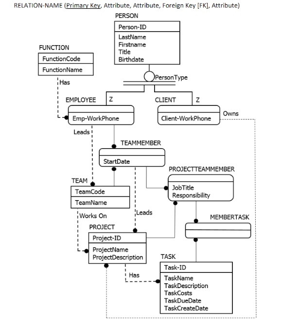
Question: Given the ERD below, determine the Third Normal Form for the resulting relational database. Include all attributes and indicate all Primary Keys and Foreign Keys.
Given the ERD below, determine the Third Normal Form for the resulting relational database.
Include all attributes and indicate all Primary Keys and Foreign Keys.
Please use the following format:RELATION-NAME (Primary Key, Attribute, Attribute, Foreign Key [FK], Attribute)

RELATION-NAME (Primary Key, Attribute, Attribute, Foreign Key [FK], Attribute) PERSON Person-ID LastName FUNCTION Firstname Title Function Code Birthdate FunctionName PersonType Has EMPLOYEE CLIENT Owns Emp-WorkPhone Client-WorkPhone Leads TEAMMEMBER StartDate PROJECT TEAMMEMBER Job Title Responsibility TEAM! TeamCode TeamName Leads Works On PROJECT Project-ID ProjectName Project Description MEMBERTASK Has TASK Task-ID TaskName TaskDescription TaskCosts TaskDueDate TaskCreateDate
Step by Step Solution
There are 3 Steps involved in it
Get step-by-step solutions from verified subject matter experts
