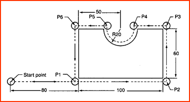
Question: Make the part program using CNC code. Tool Dia. = 6 mm depth of cut 3.0 mm (Use G90 code) (follow the points as marked
Make the part program using CNC code. Tool Dia. = 6 mm depth of cut 3.0 mm (Use G90 code)
(follow the points as marked Start point, P1, P2, P3, P4, P5, P6) (don't use G41, G42)

Step by Step Solution
There are 3 Steps involved in it
Get step-by-step solutions from verified subject matter experts
