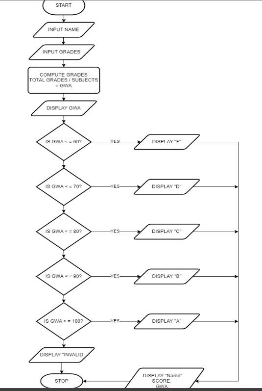
Question: Make this better / expound Input process and input grades compute grades Expound process
Make this better expound
Input process and input grades
compute grades
Expound process
Step by Step Solution
There are 3 Steps involved in it
1 Expert Approved Answer
Step: 1 Unlock
Question Has Been Solved by an Expert!
Get step-by-step solutions from verified subject matter experts
Step: 2 Unlock
Step: 3 Unlock
