Question: MARK J EFFER'r'r A&D High Tech (A): Managing Projects for Success In his twelve years as a technology project manager at A&D High Tech, Chris




















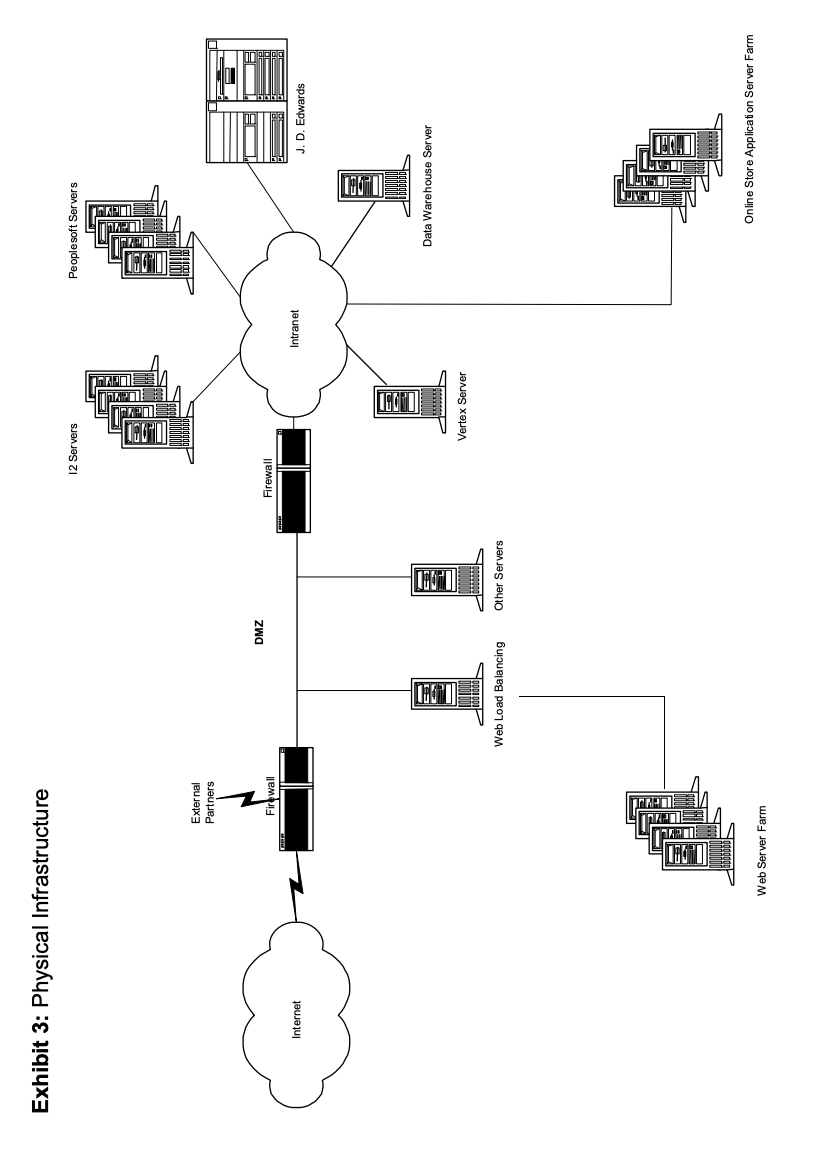
MARK J EFFER'r'r A&D High Tech (A): Managing Projects for Success In his twelve years as a technology project manager at A&D High Tech, Chris Johnson had a strong track record of delivering projects on time and on budget. His techniques for project planning, estimating, and scheduling had become best practices at the St. Louis-based computer products company. He had just led a project team that successfully revamped the supply chain systems in less than eighteen months. He was especially proud since many observers had doubted that the project could be completed on time. As part of the strategic initiatives set forth by its CEO and founder, Ted Walter, A&D was to be second to none in utilizing technology to increase operational efciency and reduce costs. The supply chain project therefore received notable attention in the boardroom and with its competitors. Time and again, Johnson was asked to tackle difcult assignments that were critical to the company's growth and prots. He had already been mentioned as the successor to the vice president of e-business, Chuck Gagler, pending his retirement. (See Exhibit 1 for the A&D High Tech organizational chart.) In early May 2003 Johnson received an urgent message om the company's CIO, Matt Webb. Webb asked Johnson to join him for a meeting with A&D's senior managers to discuss taking over the company's online store project. Johnson realized that up to that point the company's top brass had virtually ignored the Internet and its sales potential. But that situation was about to change. As Webb explained, A&D's vice president of sales, Jeff White, had advised CEO Ted Walter that A&D was losing its competitive advantage by not selling online. As a result, Walter had made the online store project the company's highest priority. Walter wanted to know whether the project could be completed in time for the holiday shopping season, when A&D's cyclic business traditionally boomed. The current project manager, Eric Robertson, was taking a one-month leave of absence due to a family emergency, just as he was about to begin formulating the project plan and make stafng decisions. Johnson immediately began thinking about the best way to ensure the online store project's success. He was concerned that there was too little time to get up to speed on this new project. It was already May, and the holiday season would approach soon. Given the urgency put forth by Webb and Walter, Johnson was already feeling pressure to come up with solid recommendations in short order. Company History A&D High Tech sold computer products, accessories, and services to consumers and small businesses. The company had its roots in Lincoln, Nebraska, where Ted Walter started its rst store in 1988. A&D's made-to-order products were very innovative at the time, and were the rst to be introduced in the personal computer industry. Walter emphasized friendly customer service, a value that was deeply ingrained in the culture of the Midwestern heartland where Walter had lived his entire life. A&D's revenues grew consistently for ten years and approached $400 million for scal year 2000. The company was primarily a regional player, with more than 90 percent of sales coming from customers in the Midwestern states. However, Walter was strategically seeking to increase its distribution nationally. A&D sales had come predominantly through retail outlets in shopping malls across the Midwest and via phone orders handled by its fty-person call center in Lincoln. Before 1999, sales orders at the call center were written on paper and then passed to order-entry clerks. This added time to order entry, delayed shipment, and resulted in poor accuracy. Consequently, sales representatives often had to contact customers to correct errors or to suggest different options due to inventory shortages. On average, 30 percent of the orders required customer callbacks, compared to only 5 percent at A&D's primary competitor. In 1999 A&D implemented its first enterprise resource planning (ERP) system, using software from J. D. Edwards. A&D opted to use J. D. Edwards primarily because its software could be customized to handle the thousands of parts that A&D used for production. The customization required many outside consultants to design and build the system, and since they left soon after the system was implemented there were some concerns that the system might be difcult to maintain. Even so, the project was deemed a success: after ERP was up and running, customer callbacks were reduced to less than 1 percent of orders. In 2001, given the successful implementation of ERP, A&D decided to further invest to improve its systems in handling the supply chain, payment process, customer relationship management (CRM), and order management. A series of technology initiatives was launched. A&D saw immediate benets in reduced costs, as well as a significant return on investment on its supply chain and data warehousing projects. Business Case In 2002, faced with tough competition and decreasing margins, A&D decided to explore new segments of the market for growth. In particular, it focused on sales via the Internet. Historically, A&D was shy to adopt the Internet as a sales channel because it did not seem to play to the company's sales strength of friendliness and customer service. However, since A&D's products were approaching commodity status, the product cost was largely the determining factor for a customer. Furthermore, competitors had successfully increased their revenues and recognized cost savings in selling, general, and administrative expenses (SG&A) per order after starting to sell through the Internet. So in early 2002, Ted Walter and vice president of sales Jeff White gave the go-ahead to C10 Webb to begin the project to create an online store. One of the rst decisions Webb faced was \"build vs. buy.\" A custom-developed program would allow A&D the opportunity to build exactly what it needed, whereas a commercial application might not meet all of the requirements. For example, the commercial off-the-shelf (COTS) software might not have the formats, input processes, reporting capabilities, and other elements needed to make the program work well for A&D. Moreover, buying off the shelf might require A&D to purchase functionality it did not need and would not use. On the other hand, Webb realized that a commercial application could potentially cost much less than a custom application. However, this was not always the case, especially if the commercial application required more than 10 percent custom modications to meet all the requirements. Webb knew that the key questions in the build vs. buy decision were: 0 Were there resources available inhouse for project management, software development, hardware support, and long-term maintenance? 0 How much budget was available for the project? 0 How unique were the processes that the new application would automate? 0 Would the company be paying for commercial software functionality that it did not need and would not use? In his analysis, Webb listed some key determiners that pointed toward the \"build\" decision: 0 \"Hidden\" risks and costs of purchasing software increased as the need to customize a package increased. 0 Information technology (IT) could be used as a strategic weapon and a point of differentiation, versus just trying to keep up. 0 Potential benets of an integrated but exible system in custom-built software (versus simply integrating multiple vendors) could be signicant. 0 There was a possible competitive advantage to be gained om a custom-built system. 0 The off-the-shelf package's elements only met 60 percent of A&D's functional requirements. 0 A few established quality vendors were committed to the market but no single vendor was a clear market leader. After deliberating for a month with his top managers, Webb was set on the \"build\" option. Project History Webb created a cross-functional team of six people to plan the project based on his "build" decision (see Exhibit 1). Led by Eric Robertson, a young but bright IT project manager, the team's planning components included: Define the business requirements Define the process flows Create the technical architecture requirements Build a simple prototype of the system Create the work breakdown structure (WBS) for the project Estimate the effort for each of the tasks in the WBS Define the resources available for the project and assign resources to project tasks Create a schedule with task dependencies and proper resource allocation After four weeks, the team presented its findings to the steering committee. A summary outcome for each of the planning tasks is listed below. BUSINESS REQUIREMENTS The scope and business requirements of the online store included new orders, add-on orders, order amends, order status, and lead capture with the following capabilities: Configuration and pricing Delivery date based on standard lead times Real-time payment processing 100 percent validation of required data Collection of prospect data about customers Integration to back-end (ERP) for manufacturing and order management Senior management was adamant that the system incorporate this set of minimum functionality, since customers must have the same experience across all sales channels. As Jeff White put it: Once an order has been made and it gets into [J. D.] Edwards, I don't see why we need to distinguish whether the customer shopped in our stores or made the order on the phone or the Internet. We should serve them with the exact care and quality that one comes to expect from A&D. PROCESS FLOW The introduction of Internet sales would have little impact on the current process at A&D, since it simply served as a new front to its existing activities. In fact, all existing activities would remain the same. New activities to support Internet sales, such as exception handling due to system errors, would be added to the IT support procedures.TECHNICAL ARCHITECTURE Since A&D carried a range of products that ran the Windows 2000 operating system, A&D had standardized all custom applications to run on this platform. The online store's architecture was N-tiered for greater exibility and future scalability (see Exhibit 2). The rst tier was the Web server layer. The Web server was the Microsoft Internet Information Server (IIS). Server side scripts were to be coded in MS Application Server Pages (ASP). The second tier was the application server layer. The application server was the Microsoft Transaction Server (MTS). The application components would leverage Microsoft Site Server and the Microsoft Site Server Commerce Edition components. Databases to support the application were to run on Microsoft SQL Server. The communication tier was the middleware Microsoft Messaging Queue (MSMQ). Through MSMQ, the application would access J. D. Edwards. Other back-end applications and databases existed but would not be interfaced by the online store. All software licenses were already in-house, so Robertson did not expect to incur any expenses from procuring software. PHYSICAL INFRASTRUCTURE A&D's physical infrastructure was planned to be fairly typical for a company that conducted commerce over the Internet. For security, two firewalls were set up with a demilitarized zone (DMZ) in between (see Exhibit 3). Situated in the DMZ were servers that were accessible by the Internet and by A&D's partners. Behind the second rewall was A&D's internal network, or intranet. The servers behind this second firewall were only accessible in the intranet. Robertson's team estimated that they would need twelve Windows 2000 workstations (at $3,000 each) and five Windows 2000 servers (at $ 12,500 each) for the project. PROTOTYPE A prototype, consisting of static HTML pages, was built by Robertson's team to demonstrate a user interface and general ow of the application. Exhibit 4 shows a screen print of the order confirmation page. The prototype was approved by the vice presidents of sales and marketing, and would serve as a basis for the actual application's appearance and functionality. PROJECT WBS Robertson's team created a complete WBS that detailed all the tasks that needed to be performed for the project as of May 26, 2003. See Exhibit 5 for the complete WBS. TASK ESTIMATES Estimates were created for each task as part of the planning effort. Robertson's team had some experience in IT project estimating, so they were fairly condent that the total project estimate would be close to the actuals. See Exhibit 6 for listing of the estimates for each task. PROJECT RESOURCES All the rescurces for the project had been identified except for the software developers. For A&D in-house developers, a at rate of \"Show was traditionally used for estimating purposes. But since there were no developers available internally, Robertson had solicited a contracting company, Geneva, to staff these positions. For the contractors, the rates varied depending on skill level and their market value. Moreover, the overtime rates for contractors were different from the A&D standard rate. (Overtime was dened to be more than eight hours of work in a day.) By May, Geneva was still identifying the actual resources needed, but had provided the resources' rates so that Robertson could prepare the estimates. See Exhibit 1' for a list of the resources and their appropriate rates. Robertson's team also examined the tasks and made assignments accordingly. See Exhibit 8 for the resource assignments. PROJECT SCHEDULING As a nal step in preparing for the project plan, Robertson scheduled all the tasks by adding dependencies (or predecessors) and calculating the leveling delay required to properly allocate all the resources. See Exhibit 9 for the schedule.I Review Meeting When Johnson walked into the conference room fteen minutes before the start of his meeting with A&D's senior managers to discuss the online store project, he found Webb and Robertson already there. As the other attendees filed into the room, Robertson was sorting through a stack of papers, giving a set to each of them. Jeff White, the vice president of sales, and Chuck Gagler, the vice president of e-commerce, arrived just as Webb was ready to start the meeting. Webb outlined the purpose of the meeting, which was to facilitate the effective transition between Robertson and J ohnson, as well as to update senior managers on the proj ect's status. As Robertson was going through the details of the work that had been performed by his team, Johnson began to feel more at ease. He recognized that Robertson had done well in gathering all the relevant data to create a good project plan. Despite the challenge to quickly overcome the learning curve of a new project, Johnson felt more comfortable that he could come up with a detailed recommendation along with strong facts and potential issues. As the meeting ended, Webb pulled Johnson aside and told him, \"I know I may be asking a lot here, but I really need you to get the plan together in the next week. Walter really wants to know if we can get this thing done by Christmas." Exhibit 1: Organization Chart CEO & Chairman Ted Walter VP Sales CIO Jeff White Matt Webb VP e Commerce Chuck Gagler Sales Manager Project Manager Project Manager Todd Fredson Chris Johnson Eric Robertson Development Infrastructure Test Lead Functional Lead Lead Lead Kara Siposki Ryan Neff Marc Sanders Rick Burke Functional Tester Developer 1 DBA Analyst Todd Eliason TBD Sanjay Vohra Stacy Lyle Developer 2 TBD Developer 3 TBD Planning TeamExhibit 2: Technical Architecture Technical Architecture Web Server Layer Application Server Layer Back End Layer MTS Components (MS Site Server) ASP ERP (J. D. Edwards) JDE DB (DB2/400) MTS Components (MS Site Server Commerce Supply Chain (12) ASP Edition) Middleware (MS MQ) Financials (Peoplesoft) 12 DB HR (Peoplesoft) (Solaris) Data Warehousing MTS Components (Custom) Tax (Vertex) Peoplesoft DB ASP (Solaris) Application DB (MS SQL Server)Exhibit 3: Physical Infrastructure 12 Servers Peoplesoft Servers PARO External Partners Z DMZ Firewall Firewall Internet Intranet J. D. Edwards Data Warehouse Server Vertex Server Web Load Balancing Other Servers JARDIE Online Store Application Server Farm Web Server FarmExhibit 4: Prototype Order Confirmation Confirmation Order Number 1348991 has been placed Rep Info Rep Name John Q. Public Rep Phone Number 888-8888 ext. 88888 Rep ID 87654321 Order Summary Order Date 12/12/98 Client Name Jimmy Joe Client ID 22222222 ESD 12/12/99 Do Not Ship Before 12/15/99 Shipping Method UPS-2Day Partial Shipment Yes Invoice Address Shipping Address Attn: Jimmy Joe Care Of: John Q. Public 5460 Queensway Blud. 6054 Hamilton Blvd. Walla Walla, WA 57702 Wilmington, NC 21912 Order Contents Item/Quantity Unit Price Amount Model-4150LX 1 $2,600.00 $2,600.00 Intel Pentium@ II Xeon"* processor 450MHz w/512K Cache 128MB 100MHz SDRAM Expandable to 512MBExhibit 5: Work Breakdown Structure (WBS) WBS ID Task Name Overall Project 1.1 Project Management 1.1.1 Manage Project 1.2 System Requirements 1.2.1 Gather Business Requirements 1.2.2 Design Business Process Flows 1.2.3 Finalize Technical Requirements 1.2.4 Create Operational Requirements 1.2.5 Identify Technical Infrastructure Needs 1.3 Software Requirements 1.3.1 Create Functional Requirements 1.3.1.1 Capture Customer Profile 1.3.1.2 View and Search Product Catalog 1.3.1.3 Updating and Calculating Shopping Cart 1.3.1.4 Taking Payments 1.3.1.5 Submit Order 1.3.1.6 Check Order History & Order Status 1.3.2 Create Data Requirements 1.3.3 Create ERP Interface Requirements 1.3.4 Create User Interface Requirements 1.4 Detailed Design 1.4.1 Design Capture Customer Profile Pages & Components 1.4.2 Design View and Search Product Catalog Pages & Components 1.4.3 Design Updating and Calculating Shopping Cart 1.4.4 Design Taking Payments Pages & Components 1.4.5 Design Submit Order Pages & Components 1.4.6 Design Check Order History & Order Status Pages & Components 1.4.7 Design Logical & Physical Data Model 1.4.8 Design ERP Interface 1.5 Test Planning 1.5.1 Gather Testing Requirements 1.5.2 Create System Test Plan & Test Cases 1.5.3 Write System Test Scripts 1.6 Technical Infrastructure 1.6.1 Create Development Environment 1.6.2 Create Testing Environment 1.6.3 Support Development Environment 1.6.4 Support Testing Environment & Deployment 1.6.5 Support DatabaseExhibit 5 (continued) WBS ID Task Name 1.7 Development & Unit Test 1.7.1 Build Capture Customer Profile Pages & Components 1.7.2 Build View and Search Product Catalog Pages & Components 1.7.3 Build Updating and Calculating Shopping Cart 1.7.4 Build Taking Payments Pages & Components 1.7.5 Build Submit Order Pages & Components 1.7.6 Build Check Order History & Order Status Pages & Components 1.7.7 Build Logical & Physical Data Model 1.7.8 Build ERP Interface 1.7.9 Support Development & Assembly Test 1.8 Testing 1.8.1 Perform Assembly Testing 1.8.1.1 Perform Phase 1 Testing 1.8.1.2 Perform Phase 2 Testing 1.8.2 Perform System Testing 1.8.3 Perform Validation Testing 1.9 Deployment 1.9.1 Implement System 1.9.2 Deploy To Production 1.9.3 Project Wrap-Up Exhibit 6: Task Estimates WBS ID Task Name Work Estimate (days) Overall Project 1.1 Project Management 1.1.1 Manage Project 127 1.2 System Requirements 1.2.1 Gather Business Requirements 1.2.2 Design Business Process Flows 1.2.3 Finalize Technical Requirements NOOAO 1.2.4 Create Operational Requirements 1.2.5 Identify Technical Infrastructure Needs 1.3 Software Requirements 1.3.1 Create Functional Requirements 1.3.1.1 Capture Customer Profile 1.3.1.2 View and Search Product Catalog 1.3.1.3 Updating and Calculating Shopping Cart WADWOA 1.3.1.4 Taking Payments 1.3.1.5 Submit Order 1.3.1.6 Check Order History & Order StatusExhibit 6 (continued) WBS ID Task Name Work Estimate (days) 1.3.2 Create Data Requirements 3 1.3.3 Create ERP Interface Requirements A V 1.3.4 Create User Interface Requirements 1.4 Detailed Design 1.4.1 Design Capture Customer Profile Pages & Components 13.5 1.4.2 Design View and Search Product Catalog Pages & Components 13.5 1.4.3 Design Updating and Calculating Shopping Cart 6 1.4.4 Design Taking Payments Pages & Components 1.4.5 Design Submit Order Pages & Components 16 Design Check Order History & Order Status Pages & Components A 1.4.6 1.4.7 Design Logical & Physical Data Model 18 1.4.8 Design ERP Interface 20 1.5 Test Planning 1.5.1 Gather Testing Requirements 14 1.5.2 Create System Test Plan & Test Cases 20 1.5.3 Write System Test Scripts 22 1.6 Technical Infrastructure 1.6.1 Create Development Environment 20 1.6.2 Create Testing Environment 34.2 1.6.3 Support Development Environment 3.8 1.6.4 Support Testing Environment & Deployment 46 1.6.5 Support Database 4.6 1.7 Development & Unit Test 1.7.1 Build Capture Customer Profile Pages & Components 13 1.7.2 Build View and Search Product Catalog Pages & Components 12 1.7.3 Build Updating and Calculating Shopping Cart 7 1.7.4 Build Taking Payments Pages & Components 6 1.7.5 Build Submit Order Pages & Components 24 1.7.6 Build Check Order History & Order Status Pages & Components 1.7.7 Build Logical & Physical Data Model 15.5 1.7.8 Build ERP Interface 18 1.7.9 Support Development & Assembly Test 46 1.8 Testing 1.8.1 Perform Assembly Testing 1.8.1.1 Perform Phase 1 Testing 12 1.8.1.2 Perform Phase 2 Testing 20 1.8.2 Perform System Testing 160 1.8.3 Perform Validation Testing 80 1.9 Deployment 1.9.1 Implement System 80 CO 1.9.2 Deploy To Production 1.9.3 Project Wrap-Up 90Exhibit 7: Resources Resource Name Standard Rate Overtime Rate Chris Johnson (Project Manager) $75.00/hr $75.00/hr Ryan Neff (Functional Lead) $75.00/hr $75.00/hr Stacy Lyle (Functional Analyst) $75.00/hr $75.00/hr Rick Burke (Infrastructure Lead) $75.00/hr $75.00/hr Marc Sanders (Development Lead) $75.00/hr $75.00/hr Developer 1 (TBD) $165.00/hr $230.00/hr Sanjay Vohra (DBA) $75.00/hr $75.00/hr Kara Siposki (Test Lead) $75.00/hr $75.00/hr Todd Eliason (Tester) $75.00/hr $75.00/hr Developer 2 (TBD) $175.00/hr $250.00/hr Developer 3 (TBD) $175.00/hr $250.00/hr Exhibit 8: Resource Assignments Work WBS Task Name Estimate Resource Name ID (days) Overall Project 1.1 Project Management 1.1.1 Manage Project 127 Chris Johnson (Project Manager) 1.2 System Requirements 1.2.1 Gather Business Requirements 8 Ryan Neff (Functional Lead), Stacy Lyle (Functional Analyst) 1.2.2 Design Business Process Flows 4 Ryan Neff (Functional Lead), Stacy Lyle (Functional Analyst) 1.2.3 Finalize Technical Requirements 6 Rick Burke (Infrastructure Lead) 1.2.4 Create Operational Requirements 15 Ryan Neff (Functional Lead), Stacy Lyle (Functional Analyst), Rick Burke (Infrastructure Lead) 1.2.5 Identify Technical Infrastructure Needs 2 Rick Burke (Infrastructure Lead) 1.3 Software Requirements 1.3.1 Create Functional Requirements 1.3.1.1 Capture Customer Profile 4 Ryan Neff (Functional Lead) 1.3.1.2 View and Search Product Catalog Ryan Neff (Functional Lead) 1.3.1.3 Updating and Calculating Shopping Cart Ryan Neff (Functional Lead) 1.3.1.4 Taking Payments 6 Stacy Lyle (Functional Analyst) 1.3.1.5 Submit Order A Ryan Neff (Functional Lead) 1.3.1.6 Check Order History & Order Status Ryan Neff (Functional Lead) 1.3.2 Create Data Requirements Stacy Lyle (Functional Analyst) 1.3.3 Create ERP Interface Requirements Stacy Lyle (Functional Analyst) 1.3.4 Create User Interface Requirements 4 Stacy Lyle (Functional Analyst)Exhibit 8 (continued) Work WBS Task Name Estimate Resource Name ID (days) 1.4 Detailed Design 1.4.1 Design Capture Customer Profile Pages & 13.5 Marc Sanders (Development Lead), Ryan Neff Components Functional Lead) [50%] 1.4.2 Design View and Search Product Catalog 13.5 Developer 1 (TBD), Ryan Neff (Functional Lead) Pages & Components [50%] 1.4.3 Design Updating and Calculating Shopping 6 Developer 1 (TBD), Ryan Neff (Functional Lead) Cart 1.4.4 Design Taking Payments Pages & 6 Marc Sanders (Development Lead), Stacy Lyle Components (Functional Analyst) 1.4.5 Design Submit Order Pages & 16 Marc Sanders (Development Lead), Ryan Neff Components (Functional Lead) 1.4.6 Design Check Order History & Order 4 Marc Sanders (Development Lead), Ryan Neff Status Pages & Components (Functional Lead) 1.4.7 Design Logical & Physical Data Model 18 Sanjay Vohra (DBA), Stacy Lyle (Functional Analyst) 1.4.8 Design ERP Interface 0 Developer 1 (TBD), Stacy Lyle (Functional Analyst) 1.5 Test Planning 1.5.1 Gather Testing Requirements 14 Kara Siposki (Test Lead), Todd Eliason (Tester) 1.5.2 Create System Test Plan & Test Cases 20 Kara Siposki (Test Lead), Todd Eliason (Tester) 1.5.3 Write System Test Scripts 2 Kara Siposki (Test Lead), Todd Eliason (Tester) 1.6 Technical Infrastructure 1.6.1 Create Development Environment 20 Rick Burke (Infrastructure Lead) 1.6.2 Create Testing Environment 34.2 Rick Burke (Infrastructure Lead) [90%] 1.6.3 Support Development Environment 3.8 Rick Burke (Infrastructure Lead) [10%] 1.6.4 Support Testing Environment & 46 Rick Burke (Infrastructure Lead) Deployment 1.6.5 Support Database 4.6 Sanjay Vohra (DBA) [10%] 1.7 Development & Unit Test 1.7.1 Build Capture Customer Profile Pages & 13 Developer 2 (TBD) Components 1.7.2 Build View and Search Product Catalog 12 Developer 3 (TBD) Pages & Components 1.7.3 Build Updating and Calculating Shopping 7 Developer 3 (TBD) Cart 1.7.4 Build Taking Payments Pages & 6 Developer 2 (TBD) Components 1.7.5 Build Submit Order Pages & Components 24 Developer 2 (TBD), Developer 3 (TBD) 1.7.6 Build Check Order History & Order Status 6 Marc Sanders (Development Lead) Pages & Components 1.7.7 Build Logical & Physical Data Model Sanjay Vohra (DBA) [50%] 1.7.8 Build ERP Interface Developer 1 (TBD) 1.7.9 Support Development & Assembly Test 46 Ryan Neff (Functional Lead), Stacy Lyle (Functional Analyst)Exhibit 8 (continued) Work WBS Task Name Estimate Resource Name ID (days) 1.8 Testing 1.8.1 Perform Assembly Testing 1.8.1.1 Perform Phase 1 Testing 12 Marc Sanders (Development Lead) 1.8.1.2 Perform Phase 2 Testing 20 Marc Sanders (Development Lead), Developer 1 (TBD), Developer 2 (TBD), Developer 3 (TBD) 1.8.2 Perform System Testing 160 Kara Siposki (Test Lead), Todd Eliason (Tester), Marc Sanders (Development Lead), Developer 1 (TBD), Developer 2 (TBD), Developer 3 (TBD), Ryan Neff (Functional Lead), Stacy Lyle (Functional Analyst) 1.8.3 Perform Validation Testing 80 Kara Siposki (Test Lead), Todd Eliason (Tester), Marc Sanders (Development Lead), Developer 1 (TBD) Developer 2 (TBD), Developer 3 (TBD), Ryan Neff (Functional Lead), Stacy Lyle (Functional Analyst) 1.9 Deployment 1.9.1 Implement System 80 Kara Siposki (Test Lead), Todd Eliason (Tester), Marc Sanders (Development Lead), Developer 1 (TBD), Developer 2 (TBD), Developer 3 (TBD), Ryan Neff (Functional Lead), Stacy Lyle (Functional Analyst) 1.9.2 Deploy To Production 8 Kara Siposki (Test Lead), Todd Eliason (Tester), Marc Sanders (Development Lead), Developer 1 (TBD), Developer 2 (TBD), Developer 3 (TBD), Ryan Neff (Functional Lead), Stacy Lyle (Functional Analyst) 1.9.3 Project Wrap-Up 90 Kara Siposki (Test Lead), Todd Eliason (Tester), Marc Sanders (Development Lead), Developer 1 (TBD) Developer 2 (TBD), Developer 3 (TBD), Ryan Neff (Functional Lead), Stacy Lyle (Functional Analyst), Rick Burke (Infrastructure Lead)Exhibit 9: Scheduling Work Task WBS Leveling Task Name Estimate Delay Predecessors Resource Name 9 ID (days) (edays) Overall Project O Project Management O 1.1.1 Manage Project 59FF Chris Johnson (Project Manager) N System Requirements 1.2.1 Gather Business Requirements O LO Ryan Neff (Functional Lead), Stacy Lyle (Functional Analyst 1.2.2 Design Business Process Flows O Ryan Neff (Functional Lead), Stacy Lyle (Functional Analyst) 1.2.3 Finalize Technical Requirements Rick Burke (Infrastructure Lead) oo 1.2.4 Create Operational Requirements 6 Ryan Neff (Functional Lead), Stacy Lyle (Functional Analyst), Rick Burke (Infrastructure Lead) 1.2.5 Identify Technical Infrastructure Needs 7, 8 Rick Burke (Infrastructure Lead) Software Requirements 1.3.1 Create Functional Requirements 5, 6, 8 1.3.1.1 Capture Customer Profile Ryan Neff (Functional Lead) 1.3.1.2 View and Search Product Catalog Ryan Neff (Functional Lead) 1.3.1.3 Updating and Calculating Shopping Cart 13 Ryan Neff (Functional Lead) 1.3.1.4 Taking Payments Stacy Lyle (Functional Analyst) 1.3.1.5 Submit Order 12, 13, 14, 15 Ryan Neff (Functional Lead) 1.3.1.6 Check Order History & Order Status 16 Ryan Neff (Functional Lead) 1.3.2 Create Data Requirements 12, 13 Stacy Lyle (Functional Analyst) 1.3.3 Create ERP Interface Requirements 16SS Stacy Lyle (Functional Analyst) 1.3.4 Create User Interface Requirements O 11SS Stacy Lyle (Functional Analyst)Exhibit 9 (continued) Work Leveling Task WBS Task Name Estimate Delay Predecessors Resource Name e (days) (edays) 1.4 Detailed Design o o 1.4.1 Design Capture Customer Profile Pages & 13.5 Marc Sanders (Development Lead), Ryan Neff Components (Functional Lead) [50%] 1.4.2 Design View and Search Product Catalog Pages & 13.5 O Developer 1 (TBD), Ryan Neff (Functional Lead) [50%] Components 1.4.3 Design Updating and Calculating Shopping Cart to O 23 Developer 1 (TBD), Ryan Neff (Functional Lead) 1.4.4 Design Taking Payments Pages & Components to Marc Sanders (Development Lead), Stacy Lyle (Functional Analyst) 1.4.5 Design Submit Order Pages & Components O 22, 23, 24, 25 Marc Sanders (Development Lead), Ryan Neff (Functional Lead) 1.4.6 Design Check Order History & Order Status Pages & + 26 Marc Sanders (Development Lead), Ryan Neff Components (Functional Lead) 1.4.7 Design Logical & Physical Data Model co Sanjay Vohra (DBA), Stacy Lyle (Functional Analyst) 1.4.8 Design ERP Interface 22, 23, 24, 25 Developer 1 (TBD), Stacy Lyle (Functional Analyst) Test Planning 1.5.1 Gather Testing Requirements 11 Kara Siposki (Test Lead), Todd Eliason (Tester) 1.5.2 Create System Test Plan & Test Cases 31, 21 Kara Siposki (Test Lead), Todd Eliason (Tester) 1.5.3 Write System Test Scripts 32 Kara Siposki (Test Lead), Todd Eliason (Tester) Technical Infrastructure ooooooo 1.6.1 Create Development Environment 9 Rick Burke (Infrastructure Lead) 1.6.2 Create Testing Environment 34.2 35 Rick Burke (Infrastructure Lead) [90%] 1.6.3 Support Development Environment 35 Rick Burke (Infrastructure Lead) [10%] 1.6.4 Support Testing Environment & Deployment 36 Rick Burke (Infrastructure Lead) O 1.6.5 Support Database 47 Sanjay Vohra (DBA) [10%]Exhibit 9 (continued) Work Task WBS Leveling Task Name Estimate Delay Predecessors Resource Name 2 (days) (edays) Development & Unit Test O 1.7.1 Build Capture Customer Profile Pages & Components O Developer 2 (TBD) O 1.7.2 Build View and Search Product Catalog Pages & Developer 3 (TBD) Components 1.7.3 Build Updating and Calculating Shopping Cart 24, 42 Developer 3 (TBD) ofo 1.7.4 Build Taking Payments Pages & Components Developer 2 (TBD) 1.7.5 Build Submit Order Pages & Components 26, 41, 42, Developer 2 (TBD), Developer 3 (TBD) 43, 44 1.7.6 Build Check Order History & Order Status Pages & O to Marc Sanders (Development Lead) Components 1.7.7 Build Logical & Physical Data Model 15.5 Sanjay Vohra (DBA) [50%] 1.7.8 Build ERP Interface co Developer 1 (TBD) 1.7.9 Support Development & Assembly Test Ryan Neff (Functional Lead), Stacy Lyle (Functional Analyst) ooo ooo 1.8 Testing 1.8.1 Perform Assembly Testing 1.8.1.1 Perform Phase 1 Testing 41, 42, 43 Marc Sanders (Development Lead) N 1.8.1.2 Perform Phase 2 Testing 44, 45, 46, Marc Sanders (Development Lead), Developer 1 (TBD), 52, 47, 48 Developer 2 (TBD), Developer 3 (TBD) O 1.8.2 Perform System Testing 160 51, 32, 33 Kara Siposki (Test Lead), Todd Eliason (Tester), Marc Sanders (Development Lead), Developer 1 (TBD) Developer 2 (TBD), Developer 3 (TBD), Ryan Neff (Functional Lead), Stacy Lyle (Functional Analyst) 55 1.8.3 Perform Validation Testing Kara Siposki (Test Lead), Todd Eliason (Tester), Marc Sanders (Development Lead), Developer 1 (TBD) Developer 2 (TBD), Developer 3 (TBD), Ryan Neff (Functional Lead), Stacy Lyle (Functional Analyst)Exhibit 9 (continued) Work Task WBS Leveling Task Name Estimate Delay Predecessors Resource Name 2 (days) (edays) Deployment O 1.9.1 Implement System O Kara Siposki (Test Lead), Todd Eliason (Tester), Marc Sanders (Development Lead), Developer 1 (TBD), Developer 2 (TBD), Developer 3 (TBD), Ryan Neff (Functional Lead), Stacy Lyle (Functional Analyst) 8 1.9.2 Deploy To Production CO D Kara Siposki (Test Lead), Todd Eliason (Tester), Marc Sanders (Development Lead), Developer 1 (TBD), Developer 2 (TBD), Developer 3 (TBD), Ryan Neff (Functional Lead), Stacy Lyle (Functional Analyst) 1.9.3 Project Wrap-Up 8 O Kara Siposki (Test Lead), Todd Eliason (Tester), Marc Sanders (Development Lead), Developer 1 (TBD), Developer 2 (TBD), Developer 3 (TBD), Ryan Neff (Functional Lead), Stacy Lyle (Functional Analyst), Rick Burke (Infrastructure Lead)
Step by Step Solution
There are 3 Steps involved in it
Get step-by-step solutions from verified subject matter experts
