Question: please refer to appendix given Spindex Engineering specializes in the production gear boxes. One of its product is a 2 stage speed reduction gearbox as


please refer to appendix given
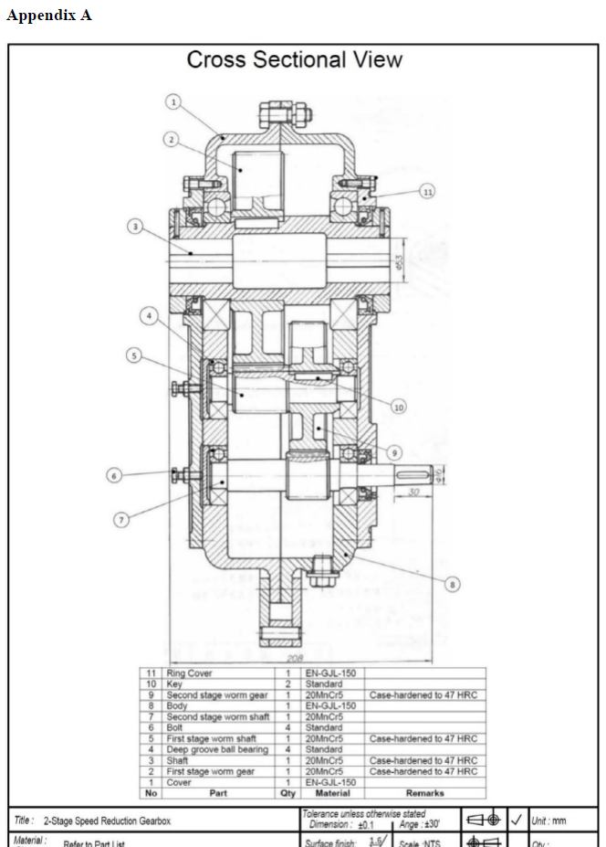
Spindex Engineering specializes in the production gear boxes. One of its product is a 2 stage speed reduction gearbox as shown in Appendix A. Spindex has received an order on this speed reduction gear assembly and needs to plan and schedule the manufacturing process. (a) A total of 4,800 bearings (supporting Part 3 of the gearbox) will be required in this order. The price list quoted by the supplier (tied to quantity) is shown in Table Q2(a). The holding cost per bearing is set at 15% of the cost price of the bearing. The ordering cost is $30 per order. Table O2(a) (i) Calculate the economic order quantity (EOQ) for each unit price. Select the required EOQ if the quantity falls below the minimum that qualifies for the discount rate. (9 marks) (ii) Calculate the total cost for every quantity computed in Q2(a)(i). Evaluate from the data computed to determine the optimal quantity of order that would result in the most economical outcome. Appendix AStep by Step Solution
There are 3 Steps involved in it
1 Expert Approved Answer
Step: 1 Unlock
Question Has Been Solved by an Expert!
Get step-by-step solutions from verified subject matter experts
Step: 2 Unlock
Step: 3 Unlock
