Question: Question 1 The URRPR spatial open chain robot is shown below in its zero position. For L = 1 L = 1 , determine the
Question
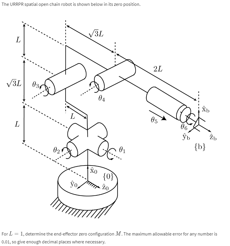
The URRPR spatial open chain robot is shown below in its zero position.
For
L
L determine the endeffector zero configuration
M
M The maximum allowable error for any number is so give enough decimal places where necessary.The URRPR spatial open chain robot is shown below in its zero position.
For determine the endeffector zero configuration The maximum allowable error for any number is
so give enough decimal places where necessary.
Step by Step Solution
There are 3 Steps involved in it
1 Expert Approved Answer
Step: 1 Unlock
Question Has Been Solved by an Expert!
Get step-by-step solutions from verified subject matter experts
Step: 2 Unlock
Step: 3 Unlock
