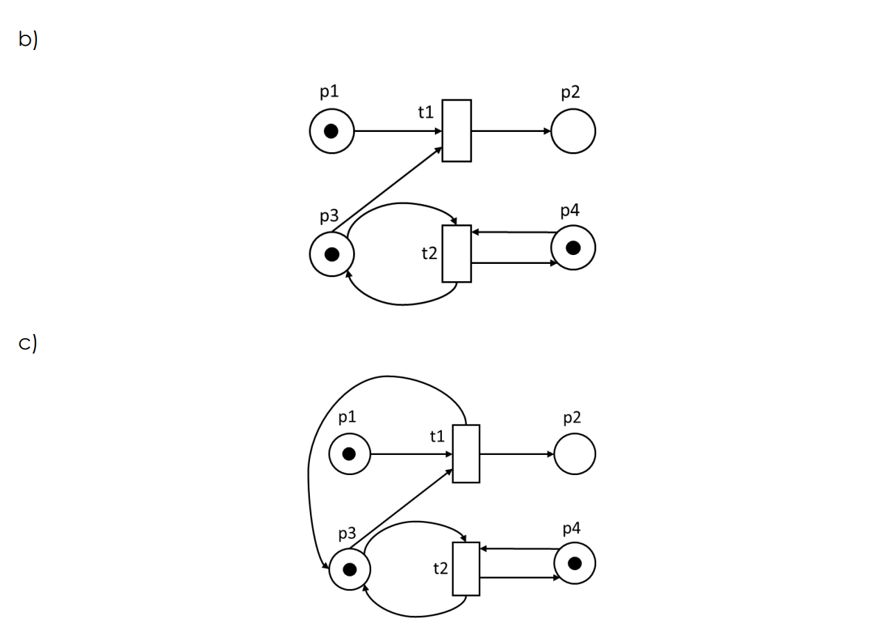
Question: Question 2.2 (12 points) Consider the petri nets shown below. Specify whether each one is bounded and/or alive. Provide your rationale. p1 p2 p3 p4

 Question 2.2 (12 points) Consider the petri nets shown below. Specify

whether each one is bounded and/or alive. Provide your rationale. p1 p2

Question 2.2 (12 points) Consider the petri nets shown below. Specify whether each one is bounded and/or alive. Provide your rationale. p1 p2 p3 p4 b) p1 6-15 b3 | p4 p2 p3 p4 Question 2.2 (12 points) Consider the petri nets shown below. Specify whether each one is bounded and/or alive. Provide your rationale. p1 p2 p3 p4 b) p1 6-15 b3 | p4 p2 p3 p4

Step by Step Solution

There are 3 Steps involved in it

1 Expert Approved Answer
Step: 1 Unlock blur-text-image
Question Has Been Solved by an Expert!

Get step-by-step solutions from verified subject matter experts

Step: 2 Unlock
Step: 3 Unlock

Students Have Also Explored These Related Databases Questions!