Question: Read the case study, The Trio's Oven, and answer the following questions using the business report template posted below. 1. Business Strategy and Process Analysis
Read the case study, The Trio's Oven, and answer the following questions using the business report template posted below.








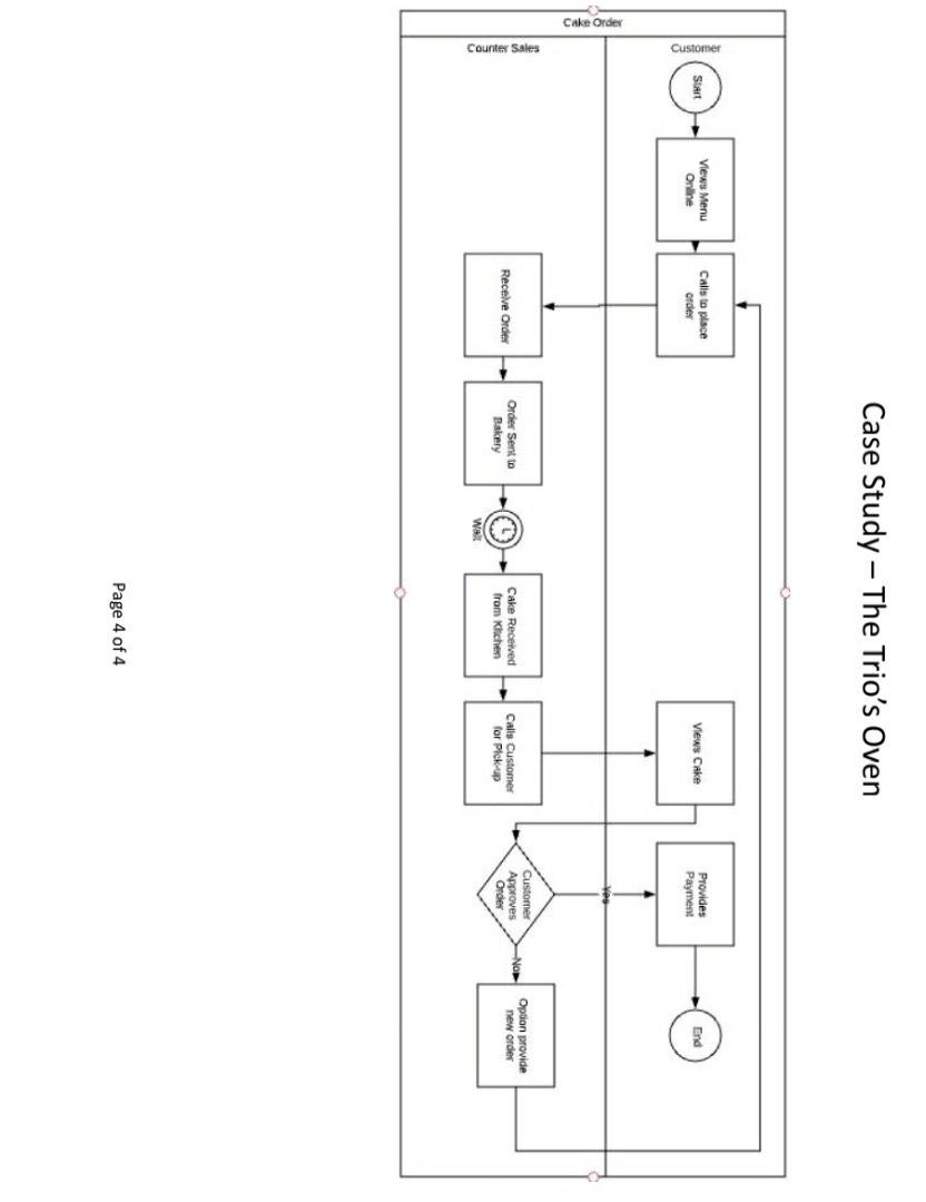
1. Business Strategy and Process Analysis a. The BPMN provided in the case study (page 4) shows the process for purchasing a decorated cake. Discuss any problems you see in the business process depicted. b. Analyze The Trios Ovens business using the competitive forces and value chain models? c. Explain how the competitive forces model help The Trios Oven develop competitive strategies enabled by Information systems that they can pursue. 2. IT Infrastructure a. The plan to create and maintain a coherent IT infrastructure for The Trios Oven may raise multiple challenges. Identify and describe the management challenges that may be posed by the IT Infrastructure. b. Why is selecting computer hardware and software for The Trios Oven an important management decision? Assess the management, organization, and technology issues The Trios Oven need to consider when selecting computer hardware and software? c. Do you think businesses like The Trios Oven are most likely to benefit from using cloud computing? Why or why not? Explain your answer. 3. Security & Business Continuity a. Suggest an effective E-mail and Web use policy for The Trios Oven that they can implement in the near future. b. If you are developing a disaster recovery and business continuity plan for The Trios oven business, where would you start? What aspects of the business would the plan address?
Case Study - The Trio's Oven Background The Trio's Oven is a bakery that was established in 1997 and is currently run by three sisters, Sabel, LaBelle, and Mabel. The Trio's Oven makes specialty breads and custom cakes. They have a few consistent contracts with high-end hotels and restaurants and have recently started a small retail operation. They source high quality ingredients directly from a variety of mostly local suppliers. They have always made everything in-house, with as natural a product as possible. The company started with jokes and conversations around the family dinner table while the sisters were growing up. Their parents always had friends over for dinner, so the girls learned how to help and quickly prepare meals for large groups of people. Sabel, the oldest, became an expert cook and baker, and especially loved ordering people around the kitchen. She went to culinary school straight after high school, with dreams of becoming a world-class baker of fancy cakes. The youngest sister, Mabel, did not like being bossed around the kitchen, so as soon as she could, she left for business school, with dreams of becoming an entrepreneur. There was a constant clash between the oldest and youngest - both wanted to oversee whatever was going on. The middle sister, LaBelle, was the peacekeeper. She balanced the conflict by spinning the conversation into laughter, helping the other two sisters resolve any issue that arose. LaBelle studied sociology and psychology. After their university and college days, the girls worked at a variety of different jobs, not ever finding a perfect fit. When their parents decided to retire in the mid-1990s, they sold the big family house and moved into a townhouse closer to where the girls were living at the time. After a wonderful housewarming party, Mom and Pop Able sat the three girls down and told them that they had seen enough playing around, that it was time for them to get serious about their careers. The parents put up the seed funding, and the girls launched the bakery they had talked about for so long. In the late 1990 s and early 2000s they grew quickly, starting with bread and cakes, then later adding more items to their list. Their focus was exclusively the commercial market, providing baked goods for luxury hotels and restaurants. In the late 2000s, they started a small retail service with custom sandwiches, from the front of the bakery. Since then, they have further diversified and now offer a wide range of bakery items and other goods. Their commercial side still makes up more than 95% of the company's revenue. Over the years they have moved locations a few times, to accommodate larger numbers of ovens and other equipment. They still have only a single location, with a large bakery section, a food storage area, one small office, and a small retail counter in the area for shipping and receiving. Their current location is not ideal, as they are near the river, and have consistent issues during Spring rains with minor flooding, a bad-weather year could be very problematic! Because the family has owned the business for many years, and they are great communicators, they have built excellent relationships with most of their corporate and direct customers. Going to work is fun, and every day is a new challenge to build the best baked goods possible. The sisters have enjoyed working at their current location but are feeling the need to expand and increase their reach into the commercial market space, as local retail bakery competition is getting fierce. While they see great changes in their future, all three sisters are dedicated in keeping the business friendly and welcoming for everyone, customers, and employees alike. Today Now, The Trio's Oven has 14 employees, most of whom have worked here for many years, and a very informal family-like atmosphere. Mabel, the CEO, has an office in the building, and does a fair amount of work in the office, but meets with larger clients and others outside the office several times per week. Sabel, who runs the Bakery, does not have an desk, or office, does most of her work while moving around the bakery area. The Operations Manager, LaBelle, is nearly always behind the sales counter, chatting with customers, or wandering around making sure things get done properly. Their leadership team consists of only the three sisters. They split up the leadership roles based on their personalities and training. The youngest, Mabel, wildly energetic and outgoing, became CEO. She is responsible for the overall direction of the company and for Commercial Sales. She believes the company needs to grow to include more locations but knows they don't yet have the infrastructure to handle growth. The oldest, Sabel, took charge of their bakery and production. Her priority is to keep making amazing cakes and breads. Sabel is very leery of technology, she's described the internet as "no fluffy cloud, but a hurricane." She keeps all the recipes on hand-written index cards, which are kept locked away in the office. And LaBelle initially helped in the bakery, and later became the Operations Manager. She loves keeping customers (and sisters) happy! There is significant technology in the baking area, with customized equipment for food preparation, storage, and baking. Their greatest challenge is waste. Often, they end up disposing of some of their ingredients, especially milk and butter. The main office has three older model desktop computers, all running Windows 7 . They are networked together in a wired ethernet network and share a single Internet Service Provider wireless modem. The modem was never configured for wireless, so they don't even know if it works. Mabel uses her computer primarily for email to connect with clients, or for prospect research. Raymond is using Excel to maintain some of the company's finances, for some inventory records he uses paper cards. Pat, the Order Coordinator also has a computer, used to keep track of custom orders, along with photos and descriptions of all their product line, as they also do some marketing functions as part of their position. As a group, they primarily use the phone to receive orders and to connect with their custom-order clients. While Raymond has recommended purchasing a local install of QuickBooks for maintaining financials, Mabel is wanting new computers for everyone, Sabel want to track baking inventory better, and LaBelle want a new Point of Sale (POS) to manage retail sales and customer tracking. Unfortunately, they have a very tight budget to work with and only can afford one project. They have evaluated a Point of Sale (POS) system that will manage the retail sales transactions, retail product inventory control, and customer information. It also provides some functionality to process special cake orders. With growing popularity in their retail area, they have decided to move to a new location that will house their existing bakery, have space for an expanded retail section, improved office space, and no floods! Their cousin Pete has found a nearly ideal location for them to pursue. Hopefully, this location will meet their needs as a growing company. They have approached you, an enthusiastic and knowledgeable college student, to work for them as a Business Systems Consultant and develop an Information Technology infrastructure and plan that will enable them to expand. They are tentative, do not understand technology, and do not have a huge budget for this portion of their expansion. They want to have something ready within the next 6-8 weeks when they move into the new location. Case Study - The Trio's Oven Case Study - The Tr y-The Trio's Oven Provide a detailed report to The Trio's Oven to help them prepare for the future by answering the following questions. 1. Business Strategy and Process Analysis a. The BPMN provided in the case study (page 4) shows the process for purchasing a decorated cake. Discuss any problems you see in the business process depicted. (1 mark) b. Analyze The Trio's Ovens business using the competitive forces and value chain models? (4 marks) c. Explain how the competitive forces model help The Trio's Oven develop competitive strategies enabled by Information systems that they can pursue. (5 marks) Page 1 of 2 2. IT Infrastructure a. The plan to create and maintain a coherent IT infrastructure for The Trio's Oven may raise multiple challenges. Identify and describe the management challenges that may be posed by the IT Infrastructure. (4 Marks) b. Why is selecting computer hardware and software for The Trio's Oven an important management decision? Assess the management, organization, and technology issues The Trio's Oven need to consider when selecting computer hardware and software? (4 marks) c. Do you think businesses like The Trio's Oven are most likely to benefit from using cloud computing? Why or why not? Explain your answer. (3 marks) 3. Security \& Business Continuity a. Suggest an effective E-mail and Web use policy for The Trio's Oven that they can implement in the near future. ( 3 marks) b. If you are developing a disaster recovery and business continuity plan for The Trio's oven business, where would you start? What aspects of the business would the plan address? (5 marks) STUDENT \# (Answer the questions in the area below the appropriate subject headings below. Ensure you select and delete the Latin text) BUSINESS STRATEGY \& PROCESS ANALYSIS Duis autem vel eum iriure dolor in hendrerit in vulputate velit esse molestie consequat, vel illum dolore eu feugiat nulla facilisis at vero eros et accumsan et iusto odio dignissim qui blandit praesent luptatum zzril delenit augue duis dolore te feugait nulla facilisi. Lorem ipsum dolor sit amet, consectetuer adipiscing elit, sed diam nonummy nibh euismod tincidunt ut laoreet dolore magna aliquam erat volutpat. IT INFRASTRUCTURE Duis autem vel eum iriure dolor in hendrerit in vulputate velit esse molestie consequat, vel illum dolore eu feugiat nulla facilisis at vero eros et accumsan et iusto odio dignissim qui blandit praesent luptatum zzril delenit augue duis dolore te feugait nulla facilisi. Lorem ipsum dolor sit amet, consectetuer adipiscing elit, sed diam nonummy nibh euismod tincidunt ut laoreet dolore magna aliquam erat volutpat. SECURITY \& BUSINESS CONTINUITY Duis autem vel eum iriure dolor in hendrerit in vulputate velit esse molestie consequat, vel illum dolore eu feugiat nulla facilisis at vero eros et accumsan et iusto odio dignissim qui blandit praesent luptatum zzril delenit augue duis dolore te feugait nulla facilisi. Lorem ipsum dolor sit amet, consectetuer adipiscing elit, sed diam nonummy nibh euismod tincidunt ut laoreet dolore magna aliquam erat volutpat
Step by Step Solution
There are 3 Steps involved in it
Get step-by-step solutions from verified subject matter experts
