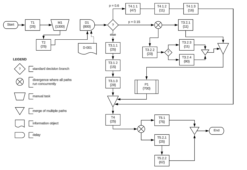
Question: What is the expected average execution time for the process depicted? Show all work.
What is the expected average execution time for the process depicted? Show all work.
Step by Step Solution
There are 3 Steps involved in it
1 Expert Approved Answer
Step: 1 Unlock
Question Has Been Solved by an Expert!
Get step-by-step solutions from verified subject matter experts
Step: 2 Unlock
Step: 3 Unlock
