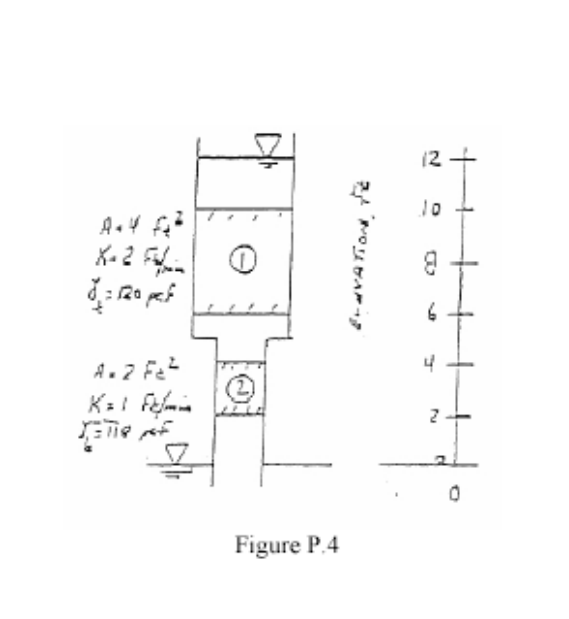
Question: 4 . Figure P 4 shows a setup for circulating flow through two specimens consisting of different soils and with different tube diameters. The permeability,
Figure P shows a setup for circulating flow through two
specimens consisting of different soils and with different tube
diameters. The permeability, area of flow and unit weight for
each specimen are shown in the figure. The datum is at the
lower water surface. The following is the information about
soil proerpties.
Soil : A ft k ftminspecific weightt pcf
Soil : A ft k ftminspecific weighttFigure P pcf
a Plot the elevation head, pressure head and total head
versus elevation through the two specimens.
b Use the external approach to determine the vertical
effective stress in psf on the screen holding the larger top
specimen in place.
c Use the internal approach to determine the vertical
effective stress in psf on the screen holding the smaller,
lower specimen in place.
Step by Step Solution
There are 3 Steps involved in it
1 Expert Approved Answer
Step: 1 Unlock
Question Has Been Solved by an Expert!
Get step-by-step solutions from verified subject matter experts
Step: 2 Unlock
Step: 3 Unlock
