Question: Consider a design problem and solve it for this question, Shaft is (Steel), Find Factor of safety, Endurance limit, and number of cycles for the

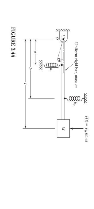
24 Derive the equation of motion and find the steady-state response of the system shown in Fig. 3.44 for rotational motion about the hinge O for the following data: k1=k2=5000N/m, a=0.25m,b=0.5m,l=1m,M=50kg,m=10kg,F0=500N,=1000rpm. FIGURE 3.44
Step by Step Solution
There are 3 Steps involved in it
Get step-by-step solutions from verified subject matter experts
