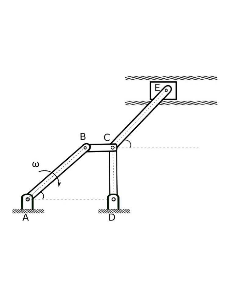
Question: I need a full matlab code for this link anaylysis please, if theres something missing please tell me . Link A B = 4 3
I need a full matlab code for this link anaylysis please, if theres something missing please tell me
Link
rCE
theta which is the input
Theta
Theta
rAD
Theta
Theta
ELSEWEDY
ELECTRIC
for part :
vecvecvec
for part :
vecvecvec
for part I
for part
for part :
vecvecvec
:
:
Port
Step by Step Solution
There are 3 Steps involved in it
1 Expert Approved Answer
Step: 1 Unlock
Question Has Been Solved by an Expert!
Get step-by-step solutions from verified subject matter experts
Step: 2 Unlock
Step: 3 Unlock
