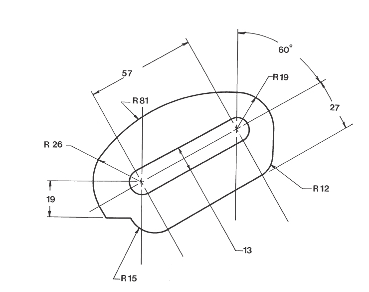
Question: I need step by step on how to draw this. I've tried looking at another drawing of this on chegg and it wasn't a good
I need step by step on how to draw this. I've tried looking at another drawing of this on chegg and it wasn't a good explanation.
Step by Step Solution
There are 3 Steps involved in it
1 Expert Approved Answer
Step: 1 Unlock
Question Has Been Solved by an Expert!
Get step-by-step solutions from verified subject matter experts
Step: 2 Unlock
Step: 3 Unlock
