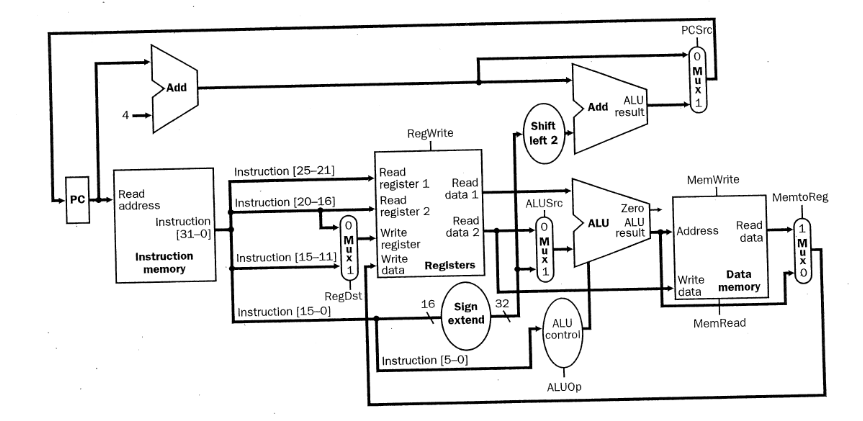
Question: PCSrc 0 Add ALU Add Shift left 2 RegWrite Instruction [25-21] Read register 1 Read Read register2 Write Read address PC MemWrite data 1 nstruction
![PCSrc 0 Add ALU Add Shift left 2 RegWrite Instruction [25-21]](https://dsd5zvtm8ll6.cloudfront.net/si.experts.images/questions/2024/09/66f39f929b808_13066f39f9223491.jpg)

![1 nstruction [(20-16 ALUSrc MemtoReg Instruction [31-0] Read data 2 ero ALU](https://dsd5zvtm8ll6.cloudfront.net/si.experts.images/questions/2024/09/66f39f93e13bc_13166f39f936105c.jpg)
PCSrc 0 Add ALU Add Shift left 2 RegWrite Instruction [25-21] Read register 1 Read Read register2 Write Read address PC MemWrite data 1 nstruction [(20-16 ALUSrc MemtoReg Instruction [31-0] Read data 2 ero ALU ALU result 0 0 Address Read data ureglster Instruction [15-11] I Write data Registers Write Data data memory RegDst instruction [15 16 Sign extend ALU control MemRead Instruction [5-0] ALUOp PCSrc 0 Add ALU Add Shift left 2 RegWrite Instruction [25-21] Read register 1 Read Read register2 Write Read address PC MemWrite data 1 nstruction [(20-16 ALUSrc MemtoReg Instruction [31-0] Read data 2 ero ALU ALU result 0 0 Address Read data ureglster Instruction [15-11] I Write data Registers Write Data data memory RegDst instruction [15 16 Sign extend ALU control MemRead Instruction [5-0] ALUOp
Step by Step Solution
There are 3 Steps involved in it
Get step-by-step solutions from verified subject matter experts
