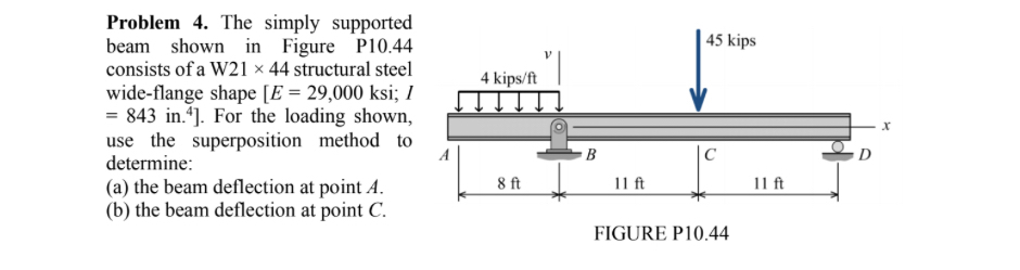
Question: Problem 4 . The simply supported beam shown in Figure P 1 0 . 4 4 consists of a W 2 1 4 4 structural
Problem The simply supported beam shown in Figure P consists of a W structural steel wideflange shape ksi;I in For the loading shown, use the superposition method to determine:
a the beam deflection at point
b the beam deflection at point
FIGURE P
Step by Step Solution
There are 3 Steps involved in it
1 Expert Approved Answer
Step: 1 Unlock
Question Has Been Solved by an Expert!
Get step-by-step solutions from verified subject matter experts
Step: 2 Unlock
Step: 3 Unlock
