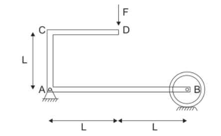
Question: Rigid frames, the unit load method. The frame in Figure 1 is composed of three beams with constant bending stiffness El . The frame is
Rigid frames, the unit load method. The frame in Figure is composed of three beams with constant bending stiffness El The frame is loaded with a vertical point load F at D
Determine the vertical displacement of D
Determine the horizontal displacement of D
It is desired to minimize the vertical displacement of point D Where would it be most appropriate to double the bending stiffness El on section AC or CD Justify.
Step by Step Solution
There are 3 Steps involved in it
1 Expert Approved Answer
Step: 1 Unlock
Question Has Been Solved by an Expert!
Get step-by-step solutions from verified subject matter experts
Step: 2 Unlock
Step: 3 Unlock
