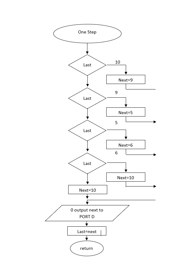
Question: Write a program in assembly or C code according to the next flow chart One Step 10 Last Next 9 9 Last Next 5 Last
Write a program in assembly or C code according to the next flow chart

One Step 10 Last Next 9 9 Last Next 5 Last Next-6 6 Last Next-10 Next-10 O output next to PORT D Last-next return
Step by Step Solution
There are 3 Steps involved in it
Get step-by-step solutions from verified subject matter experts
