Question: 1. Verify that the RTL code for the multiplication UV X*V correctly multiplies 6* 13. 2. Show the trace of the RTL code for

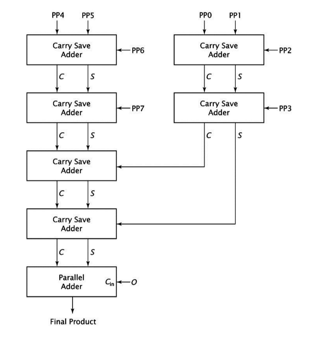
1. Verify that the RTL code for the multiplication UV X*V correctly multiplies 6* 13. 2. Show the trace of the RTL code for Booth's algorithm for X = 1101 and Y 0110. = 3. Show the trace of the RTL code for the restoring division algorithm for UV = 0110 1101 and X 1011. = 4. Show the trace of the signed-magnitude multiplication algorithm for (-5) * (+6). All magnitudes are four bits. 5. Show the contents of a lookup ROM which implements the function (X+1)*(Y+2). X and Y are 3-bit values. X is connected to ROM inputs A5-A3 and Y is connected to A2-A0. 6. Show the outputs of each adder of the Wallace tree of Figure 8.21 for the product: 1101 0111 x 1000 1011. PP4 PP5 Carry Save Adder C S Carry Save Adder C S Carry Save Adder C S Carry Save Adder C S Parallel Adder Cin Final Product PPO PP1 PP6 Carry Save Adder PP2 C S PP7 Carry Save Adder PP3 C
Step by Step Solution
There are 3 Steps involved in it
Get step-by-step solutions from verified subject matter experts
