Question: please help me to solve this questions also I add figure 8.21 for question no. 6 1. Verify that the RTL code for the multiplication
please help me to solve this questions
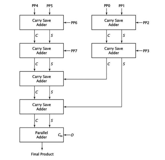
1. Verify that the RTL code for the multiplication UV + X* V correctly multiplies 6* 13. 2. Show the trace of the RTL code for Booth's algorithm for X = 1101 and Y = 0110. 3. Show the trace of the RTL code for the restoring division algorithm for UV = 0110 1101 and X = 1011. 4. Show the trace of the signed-magnitude multiplication algorithm for (-5) * (+6). All magnitudes are four bits. 5. Show the contents of a lookup ROM which implements the function (X+1)*(Y+2). X and Y are 3-bit values. X is connected to ROM inputs A5-A3 and Y is connected to A2-AO. 6. Show the outputs of each adder of the Wallace tree of Figure 8.21 for the product: 1101 0111 x 1000 1011. PP4 PP5 PPO PP1 Carry Save Adder -PP6 Carry Save Adder - PP2 s | S Carry Save Adder -PP7 Carry Save Adder -PP3 | s s Carry Save Adder C S Carry Save Adder | Parallel Adder Gin -O Final Product
also I add figure 8.21 for question no. 6

Step by Step Solution
There are 3 Steps involved in it
1 Expert Approved Answer
Step: 1 Unlock
Question Has Been Solved by an Expert!
Get step-by-step solutions from verified subject matter experts
Step: 2 Unlock
Step: 3 Unlock
