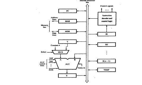
Question: Write the Control sequence for execution of the instruction MUL R4, R9, 12(R11) and microinstructions for this instruction (Table), for single bus organization of the
- Write the Control sequence for execution of the instruction MUL R4, R9, 12(R11) and microinstructions for
this instruction (Table), for single bus organization of the CPU, or DIV, R6, (R13))



all the info. please solve quickly
ACTION Comments STEP 1 2 3 4 5 6 7 8 9 10 Inom putaset Control signals IC Address linea Tostruction decoder And ccatrologie MAR MDR Dais Constant RO Select MUX : Add Sub R(n-1) ALL 20 ALU Carry XOR Microinst. 1 2 3 4 5 6 7 8 9 10 11 12 13 14 ACTION Comments STEP 1 2 3 4 5 6 7 8 9 10 Inom putaset Control signals IC Address linea Tostruction decoder And ccatrologie MAR MDR Dais Constant RO Select MUX : Add Sub R(n-1) ALL 20 ALU Carry XOR Microinst. 1 2 3 4 5 6 7 8 9 10 11 12 13 14
Step by Step Solution
There are 3 Steps involved in it
Get step-by-step solutions from verified subject matter experts
